Hay ideas que parecen sacadas de un relato futurista… hasta que descubres que están registradas en una oficina de patentes. Sony ha descrito en un nuevo documento técnico un sistema de “jugadores fantasma” generados por IA capaz de acompañarte durante los momentos más tensos de un videojuego: desde un jefe interminable hasta ese puzle que llevas veinte minutos intentando descifrar.
No hablamos de simples consejos en pantalla, sino de modelos entrenados con miles de partidas reales que analizarían tu forma de jugar para guiarte, o empujarte, hacia la mejor salida posible.
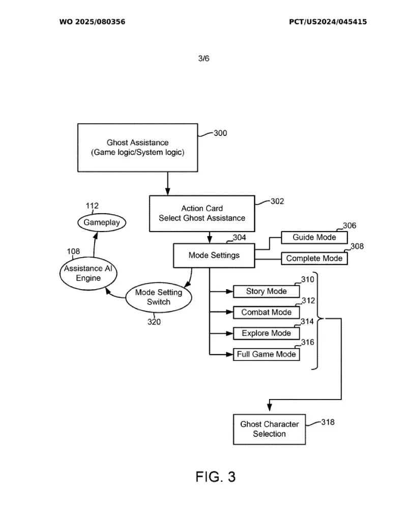
Una IA que aprende de los jugadores… para jugar contigo
La patente describe un enfoque muy distinto al de las pistas tradicionales. En lugar de un tutorial genérico, estos “fantasmas” serían recreaciones basadas en datos de gameplay real: retransmisiones, clips sociales, guías en vídeo y partidas registradas en servidores.
El objetivo no sería solo mostrar el camino correcto, sino reproducir patrones de jugadores expertos, imitarlos y adaptarlos a cada situación del usuario.
En determinadas secciones, el jugador podría alternar entre recomendaciones narradas, sugerencias de botones o incluso visualizar el input del propio “fantasma” para entender cómo encadenar combos, esquivas o rutas alternativas.
Sony plantea además escenarios en los que la IA continúa aprendiendo con el tiempo, nutriéndose de nuevos datos y añadiendo señales del entorno:
- Seguimiento de mirada para interpretar la atención del jugador
- Cámaras oficiales para contextualizar posturas o distancia
- Sugerencias dinámicas basadas en estilo de juego
En teoría, esto ampliaría las actuales funciones de Game Help en PS5, llevándolas a un territorio mucho más interactivo.
Entre ayuda accesible y debate sobre la experiencia del reto
El sistema encaja con el creciente enfoque en accesibilidad. Para quienes llegan nuevos al medio, o para quienes tienen limitaciones físicas, poder recibir apoyo contextual y no invasivo puede marcar la diferencia.
Según el documento, estas guías pretenden ser opcionales y configurables, permitiendo desde simples pistas hasta acompañamiento táctico en secciones concretas.
En cambio, buena parte de la comunidad teme el lado opuesto: ¿qué ocurre con la satisfacción del descubrimiento? ¿pierde valor superar un jefe si una IA te “marca” el camino?
A ello se suma una inquietud recurrente: la recogida masiva de datos, el uso de cámaras y la posible intromisión en la privacidad del jugador.
Por ahora, es importante subrayar algo: una patente no garantiza una función real. Puede quedarse en investigación interna, evolucionar hacia otra idea o nunca convertirse en producto.
Pero abre una pregunta incómoda, y fascinante, para el futuro de los videojuegos: ¿estamos ante un nuevo tipo de compañero virtual… o ante el final de la prueba y error como parte esencial del disfrute?
Puedes seguir a HardwarePremium en Facebook, Twitter (X), Instagram, Threads, BlueSky o Youtube. También puedes consultar nuestro canal de Telegram para estar al día con las últimas noticias de tecnología.
FAQ — Sobre la IA Patentada de Sony
Un sistema de asistencia en tiempo real basado en modelos entrenados con partidas reales de jugadores.
No necesariamente: la idea es ofrecer apoyo contextual y más personalizado.
La patente menciona opciones de mostrar inputs y guiar acciones, no sustituir al jugador.
El documento menciona fuentes de datos y sensores; el debate sobre privacidad es una de las críticas principales.
No está garantizado. Como toda patente, podría no convertirse nunca en una función comercial.




